13776369668
武峰管道
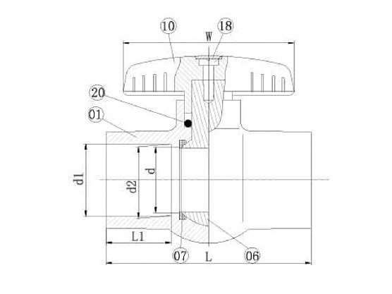
![]() |
![]() |
| 序號 | 名稱 | 材質 | 數量 | 單位 |
| 01 | 本體 | UPVC/CPVC | 1 | pcs |
| 06 | 球 | UPVC/CPVC | 1 | pcs |
| 07 | 止瀉環 | TPV | 2 | pcs |
| 10 | 手柄 | ABS | 1 | pcs |
| 18 | 嘜頭 | ABS | 1 | pcs |
| 20 | oring圈 | NBR | 1 | pcs |
| SIZE | d | D1 | D2 | L | L1 | W | ||||||
| ANSI | DIN | JIS | CNS | ANSI | DIN | JIS | CNS | |||||
| 1/2"(15) | 15 | 21.40 | 20.25 | 22.30 | 22.40 | 21.25 | 20.05 | 21.85 | 21.90 | 144.00 | 52.00 | 84.00 |
| 3/4"(20) | 20 | 26.75 | 25.25 | 26.30 | 26.40 | 26.58 | 25.05 | 25.85 | 25.90 | 142.00 | 54.00 | 90.00 |
| 1"(25) | 25 | 33.52 | 32.25 | 32.33 | 34.50 | 33.28 | 32.05 | 31.85 | 33.90 | 162.00 | 62.00 | 106.00 |
| 1-1/4"(32) | 32 | 42.28 | 40.25 | 38.43 | 42.50 | 42.05 | 40.05 | 37.85 | 41.90 | 184.00 | 70.00 | 116.00 |
| 1-1/2"(40) | 40 | 48.40 | 50.25 | 48.46 | 48.60 | 48.12 | 50.05 | 47.75 | 47.90 | 192.50 | 79.50 | 128.00 |
| 2"(50) | 50 | 60.45 | 63.25 | 60.56 | 60.60 | 60.18 | 63.05 | 59.75 | 59.90 | 217.00 | 85.00 | 140.00 |
| 2-1/2"(65) | 63 | 73.30 | 75.25 | 76.60 | 76.70 | 72.85 | 75.05 | 75.87 | 75.90 | 304.50 | 132.50 | 210.00 |
| 3"(80) | 75 | 89.25 | 90.35 | 89.60 | 89.70 | 88.70 | 90.05 | 88.83 | 88.90 | 330.00 | 150.00 | 235.00 |
| 4"(100) | 90 | 114.60 | 110.35 | 114.70 | 115.00 | 114.10 | 110.05 | 113.98 | 113.80 | 378.00 | 172.00 | 260.00 |
相關產品