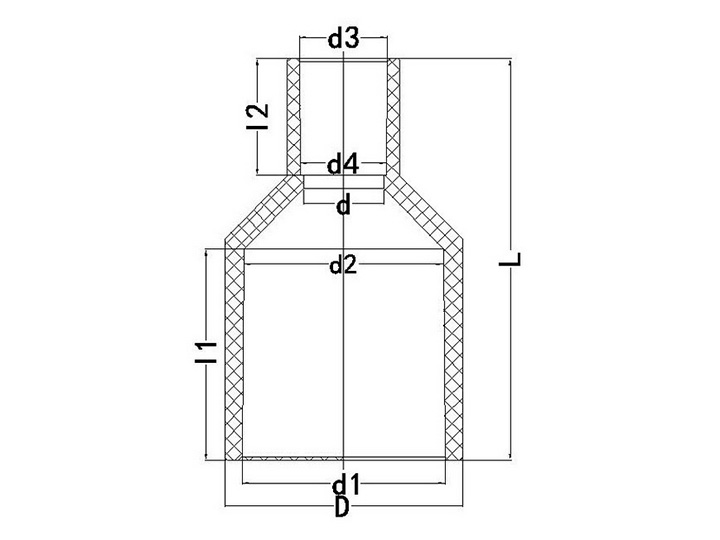
異徑直接
     
            
       
	
		
			
				  | 
			
				  | 
		
	
	
		
			| 
				Nominal | 
			
				Socket Type | 
			
				Structural Diameter | 
		
		
			| 
				SIZE | 
			
				d1 | 
			
				d2 | 
			
				I1 | 
			
				d3 | 
			
				d4 | 
			
				I2 | 
			
				D | 
			
				d | 
			
				L | 
		
		
			| 
				3/4"*1/2" | 
			
				26.45 | 
			
				25.42 | 
			
				35.0 | 
			
				22.40 | 
			
				21.52 | 
			
				30.0 | 
			
				34.0 | 
			
				20.0 | 
			
				73.50 | 
		
		
			| 
				1"*1/2" | 
			
				32.55 | 
			
				31.37 | 
			
				40.0 | 
			
				22.40 | 
			
				21.52 | 
			
				30.0 | 
			
				41.0 | 
			
				20.0 | 
			
				79.0 | 
		
		
			| 
				1"*3/4" | 
			
				32.55 | 
			
				31.37 | 
			
				40.0 | 
			
				26.45 | 
			
				25.42 | 
			
				35.0 | 
			
				41.0 | 
			
				24.0 | 
			
				83.0 | 
		
		
			| 
				1-1/4"*1/2" | 
			
				38.60 | 
			
				37.31 | 
			
				44.0 | 
			
				22.40 | 
			
				21.52 | 
			
				30.0 | 
			
				47.0 | 
			
				20.0 | 
			
				89.0 | 
		
		
			| 
				1-1/4"*3/4" | 
			
				38.60 | 
			
				37.31 | 
			
				44.0 | 
			
				26.45 | 
			
				25.42 | 
			
				35.0 | 
			
				47.0 | 
			
				24.0 | 
			
				88.0 | 
		
		
			| 
				1-1/4"*1" | 
			
				38.60 | 
			
				37.31 | 
			
				44.0 | 
			
				26.45 | 
			
				25.42 | 
			
				35.0 | 
			
				47.0 | 
			
				30.0 | 
			
				93.0 | 
		
		
			| 
				1-1/2"*1/2" | 
			
				48.70 | 
			
				47.21 | 
			
				55.0 | 
			
				22.40 | 
			
				21.52 | 
			
				30.0 | 
			
				58.0 | 
			
				20.0 | 
			
				103.5 | 
		
		
			| 
				1-1/2"*3/4" | 
			
				48.70 | 
			
				47.21 | 
			
				55.0 | 
			
				26.45 | 
			
				25.42 | 
			
				35.0 | 
			
				58.0 | 
			
				24.0 | 
			
				105.0 | 
		
		
			| 
				1-1/2"*1" | 
			
				48.70 | 
			
				47.21 | 
			
				55.0 | 
			
				32.55 | 
			
				31.37 | 
			
				40.0 | 
			
				58.0 | 
			
				30.0 | 
			
				106.0 | 
		
		
			| 
				1-1/2"*1-1/4" | 
			
				48.70 | 
			
				47.21 | 
			
				55.0 | 
			
				38.60 | 
			
				37.31 | 
			
				44.0 | 
			
				58.0 | 
			
				36.0 | 
			
				108.0 | 
		
		
			| 
				2"*1/2" | 
			
				60.80 | 
			
				59.10 | 
			
				63.0 | 
			
				22.40 | 
			
				21.52 | 
			
				30.0 | 
			
				72.0 | 
			
				20.0 | 
			
				120.0 | 
		
		
			| 
				2"*3/4" | 
			
				60.80 | 
			
				59.10 | 
			
				63.0 | 
			
				26.45 | 
			
				25.42 | 
			
				35.0 | 
			
				72.0 | 
			
				24.0 | 
			
				120.0 | 
		
		
			| 
				2"*1" | 
			
				60.80 | 
			
				59.10 | 
			
				63.0 | 
			
				32.55 | 
			
				31.37 | 
			
				40.0 | 
			
				72.0 | 
			
				30.0 | 
			
				122.0 | 
		
		
			| 
				2"*1-1/4" | 
			
				60.80 | 
			
				59.10 | 
			
				63.0 | 
			
				38.60 | 
			
				37.31 | 
			
				44.0 | 
			
				72.0 | 
			
				36.0 | 
			
				122.0 | 
		
		
			| 
				2"*1-1/2" | 
			
				60.80 | 
			
				59.10 | 
			
				63.0 | 
			
				48.70 | 
			
				47.21 | 
			
				55.0 | 
			
				72.0 | 
			
				46.0 | 
			
				132.0 | 
		
		
			| 
				2-1/2"*2" | 
			
				76.60 | 
			
				75.30 | 
			
				64.0 | 
			
				60.80 | 
			
				59.10 | 
			
				63.0 | 
			
				88.0 | 
			
				58.0 | 
			
				145.0 | 
		
		
			| 
				3"*2" | 
			
				89.60 | 
			
				88.29 | 
			
				64.0 | 
			
				60.80 | 
			
				59.10 | 
			
				63.0 | 
			
				106.0 | 
			
				58.0 | 
			
				150.0 | 
		
		
			| 
				3"*2-1/2" | 
			
				89.60 | 
			
				88.29 | 
			
				64.0 | 
			
				76.60 | 
			
				75.30 | 
			
				64.0 | 
			
				106.0 | 
			
				73.8 | 
			
				145.0 | 
		
		
			| 
				4"*2" | 
			
				114.70 | 
			
				113.20 | 
			
				84.0 | 
			
				60.80 | 
			
				59.10 | 
			
				63.0 | 
			
				135.0 | 
			
				58.0 | 
			
				183.0 | 
		
		
			| 
				4"*3" | 
			
				114.70 | 
			
				113.20 | 
			
				84.0 | 
			
				89.60 | 
			
				88.29 | 
			
				64.0 | 
			
				135.0 | 
			
				86.8 | 
			
				179.0 |